收藏本页校园通试用在线留言
我有资料要上传您的位置:网站首页>>试题中心>>生物试题>>生物一轮复习试题

《创新设计--2012高考总复习》必修一:物质跨膜运输的实例:精品练习

资料类别试题

一轮复习试题 

提供方式校园通专享

下载扣点2 (立即充值

教材版本无版本

使用学科生物

使用年级高三

上传人cxs1112@126.com

更新时间2011-7-4

下载统计

评论(发表评论 报错收藏

| 更多

最新套卷

基本信息

解析:花青素存在于液泡的细胞液中,单纯破坏细胞膜、细胞壁,只要液泡未破坏,花

青素就不会流出来,液泡膜与细胞膜以及两膜之间的细胞质合称原生质层,可看成是一

层选择透过性膜。

答案:d

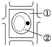
2(2011·湖北模拟)将新鲜的苔藓植物叶片放入有少量红墨水、浓度为30%的蔗糖溶液中,在显微镜下观察,你会看到细胞的状态如图所示,此时部位①②的颜色分别是                                                             (  )

a无色 绿色                            b红色 绿色

c红色 无色                           d红色 红色

解析:本题考查植物细胞的渗透作用。植物细胞液浓度由于比蔗糖溶液小,所以会发生

渗透失水。由于细胞膜有选择透过性,因此红墨水中的大分子不能进入细胞,细胞质仍

呈现叶绿素的绿色

特邀主编老师 chenxishui@ks5u.com 点评:

好试题

查看所有评论网友评论


资源难易程度:★★★★★★★★★★★★★★

成套相关资源
下载过本资料的用户还下载过
一周排名
相关搜索